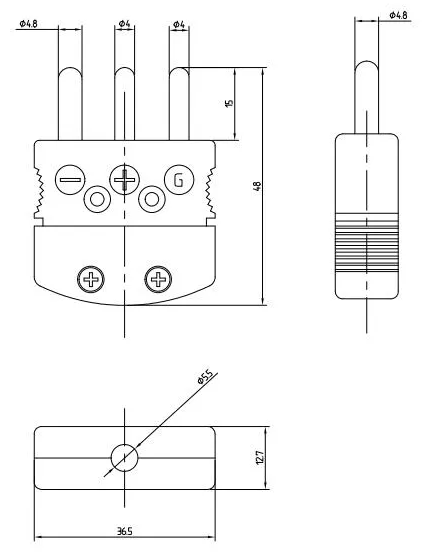
Соединитель для термосопротивлений трехконтактный REL-S15-RTD-M
Соединитель для термосопротивлений трехконтактный
Размер: стандартный
Вилка
Материал корпуса: пластмасса
Цвет: белый
Макс. температура: +200°С
Макс. диаметр кабеля: 8,0 мм
Материал контактов: медь



